头部理财公司积极布局指数策略理财产品,抢占市场先机
AI导读:
近年来,被动投资持续火热,头部理财公司积极布局指数策略理财产品。中银理财率先发布多款产品,涵盖沪深300、中证500等主流宽基指数。业内人士指出,这是理财公司积极响应政策指导、把握资本市场机遇的重要举措,有望成为理财资金入市的重要切入点。
【导读】头部理财公司新动向,积极布局指数策略理财产品,把握市场机遇。
中国基金报记者李树超张玲
近年来,被动投资持续火热,理财公司纷纷布局指数策略理财产品。中银理财率先发布了多款相关产品,华夏理财、招银理财、民生理财等也蓄势待发,积极布局指数策略理财产品。
业内人士指出,这是理财公司积极响应政策指导、把握资本市场机遇、增厚组合收益的重要举措。在监管机构引导中长期资金入市的大背景下,指数策略理财产品有望成为理财资金入市的重要切入点。
积极布局新品,抢占市场先机
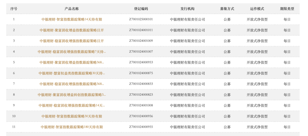
中国理财网显示,中银理财已推出多款指数策略理财产品,如中银理财-聚富固收增益指数跟踪策略368天持有期、中银理财-智富指数跟踪策略14天持有期等。同时,华夏理财、招银理财、民生理财等也在积极筹备相关指数类产品。

中银理财表示,积极布局指数策略理财产品的原因有三:一是监管部门多次鼓励引导中长期资金入市,理财公司积极响应政策;二是低利率环境下,通过配置指数类权益资产力争增厚组合收益;三是指数投资风险分散、策略清晰,便于销售渠道和投资者理解。
中银理财已推出的指数跟踪策略产品,涵盖沪深300、中证500、中证1000等主流宽基指数,通过投资相关指数ETF、场外联接基金等方式实现权益投资。未来,公司还将持续布局指数策略理财产品,并探索指数增强型理财产品。
普益标准研究员石书玥认为,随着资本市场进一步发展,政策推动中长期资金入市的趋势和投资者教育的深入,理财公司积极布局指数策略理财产品的趋势将会延续。
指数策略理财产品或成入市重要切入点
在监管机构引导中长期资金入市背景下,指数策略理财产品有望成为理财资金入市的重要切入点。中银理财表示,被动指数跟踪策略或指数增强策略将成为理财资金参与资本市场投资的重要切入点。
一方面,指数市场不断发展,权益市场指数品种日渐丰富,满足投资者多样需求;另一方面,被动指数型权益基金增长强劲,工具属性和配置价值得到市场认可。因此,指数策略理财产品未来发展空间较大。
投资者在选择指数策略理财产品时,应明确投资目标、风险偏好及投资期限,关注产品权益仓位比例和风险等级,确保符合自身风险承受能力。同时,对产品波动性和回撤有一定容忍度,愿意长期持有,分享权益市场长期增长红利。
相比传统固收类产品,指数策略理财产品可能呈现更具弹性的净值表现。中银理财建议投资者在选择该类产品时,需关注产品风险等级和权益仓位比例,确保符合自身风险偏好。同时,对权益市场及相关指数有所了解,保持长期持有策略。
随着权益市场吸引力增强,指数化投资优势进一步凸显。未来,银行理财机构将指数型权益产品作为含权理财布局的重要方向,抓住资本市场机遇,在大财富管理新一轮周期中提前布局。
从资产配置来看,理财产品也正增配被动指数型基金。根据华源证券数据,2024年第三季度理财增配被动指数型基金约31亿元,显示出固收类理财对被动指数型基金的逆势增配趋势。
伴随着权益市场持续回暖,相关产品的需求也会持续上升。未来,银行理财通过被动指数基金参与市场具有较大的扩展空间。
郑重声明:以上内容与本站立场无关。本站发布此内容的目的在于传播更多信息,本站对其观点、判断保持中立,不保证该内容(包括但不限于文字、数据及图表)全部或者部分内容的准确性、真实性、完整性、有效性、及时性、原创性等。相关内容不对各位读者构成任何投资建议,据此操作,风险自担。股市有风险,投资需谨慎。如对该内容存在异议,或发现违法及不良信息,请发送邮件至yxiu_cn@foxmail.com,我们将安排核实处理。

