公募董事长陈继武及关联公司遭“限消令”,凯石基金发展陷困境
AI导读:
近日,公募凯石基金董事长陈继武及其关联公司因未按执行通知书指定的期间履行生效法律文书确定的给付义务,被上海市黄浦区人民法院下发限制消费令。凯石基金近年来发展陷入困境,规模持续缩水,旗下公募基金数量大幅减少。
近日,一则涉及沪上知名公募董事长陈继武的“限消令”在市场中引起了广泛关注。
企查查信息显示,上海市黄浦区人民法院近期分别对上海凯石益正资产管理有限公司(简称“凯石益正”)和上海凯石财富基金销售有限公司(简称“凯石财富”)下发了限制消费令。作为这两家公司的法定代表人,陈继武也被限制高消费及非生活和工作必需的消费行为。这一消息迅速在市场中发酵。
陈继武,作为公募凯石基金的董事长,其近年来的发展之路颇为坎坷。凯石基金的公募基金管理规模在2019年达到约14亿元的“顶峰”后,便持续缩水。截至2025年一季度末,该规模已大幅缩减至1.17亿元。
陈继武及关联公司受限
6月6日,上海市黄浦区人民法院对凯石财富下达了限制消费令,该令源于5月14日立案执行的申请人上海市黄浦区人力资源和社会保障局申请执行凯石财富其他行政处理一案。据天眼查数据显示,该案所涉金额约为50.97万元。

限制消费令明确指出,因凯石财富未按执行通知书指定的期间履行生效法律文书确定的给付义务,法院对其采取限制消费措施,限制凯石财富及其法定代表人陈继武实施相关高消费及非生活和工作必需的消费行为。

此前,在5月20日,同样因未按执行通知书指定的期间履行生效法律文书确定的给付义务,上海市黄浦区人民法院还对陈继武旗下的凯石益正及其本人下达了限制消费令。该案的涉案总金额约为12.54万元。

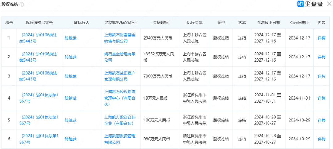
除被下达“限消令”外,陈继武所持的凯石财富、凯石益正等多家公司的股权也遭到了法院的冻结。

凯石基金发展困境重重
陈继武,一位资深金融从业人士,公募行业的“老将”。他曾任浙江省国际信托投资银行总部副总经理,后加入南方基金,担任基金经理。后来,他相继在中国人寿资金管理中心和富国基金担任要职。2009年,他创办了上海凯石益正资产管理公司。八年后,他放弃私募业务,转身投向公募领域。
2017年,证监会批准了凯石基金的公募业务申请。同年5月,凯石基金作为国内第二家获批的“私转公”公募基金正式成立。陈继武持有凯石基金65%的股份,并出任公司董事长。
然而,凯石基金的发展之路并不平坦。公司成立八年来,规模始终未能实现大的突破。近年来,一批存量“迷你基金”陆续清盘,公司旗下公募基金数量仅剩3只。其中,凯石元鑫混合基金自今年3月6日成立以来,收益率仅为2.13%。
(文章来源:上海证券报)
郑重声明:以上内容与本站立场无关。本站发布此内容的目的在于传播更多信息,本站对其观点、判断保持中立,不保证该内容(包括但不限于文字、数据及图表)全部或者部分内容的准确性、真实性、完整性、有效性、及时性、原创性等。相关内容不对各位读者构成任何投资建议,据此操作,风险自担。股市有风险,投资需谨慎。如对该内容存在异议,或发现违法及不良信息,请发送邮件至yxiu_cn@foxmail.com,我们将安排核实处理。

