李亚鹏丽江项目辟谣及商业风险曝光
AI导读:
李亚鹏在社交平台辟谣丽江项目失败,强调销售佳绩。然而,其持股公司丽江雪山投资有限责任公司新增被执行人信息,被执行总金额约244万元,公司已被限制高消费,存在多条股权冻结信息。李亚鹏作为商人,商业版图虽广,但风险亦不容忽视。
近日,李亚鹏在社交平台发布视频,亲自辟谣丽江项目失败传闻。他表示,丽江项目自2015年开盘以来,便一直是丽江销售的第一名,在2020和2021年还逆势卖了70个亿,赚肯定赚了,这10年光发工资就发了几个小目标。同时,他强调烂尾房是多年前的假新闻,法院已作出判决,造谣者也已道歉。

然而,商业世界风云变幻。5月27日消息显示,李亚鹏持股的丽江雪山投资有限责任公司新增3条被执行人信息,被执行总金额约244万元,执行法院均为丽江市古城区人民法院。
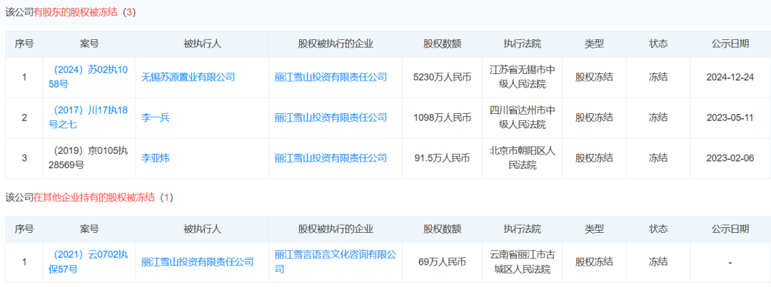
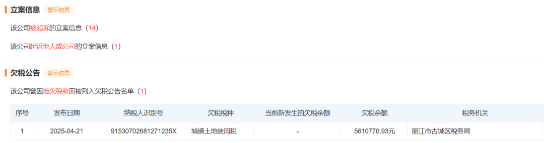
丽江雪山投资有限责任公司成立于2008年,由阳光壹佰置业集团有限公司、李亚鹏等共同持股,其中,李亚鹏持股约27.8%。目前,该公司已被限制高消费,并存在多条股权冻结信息,还曾因拖欠税款而被列入欠税公告名单。

作为商人,李亚鹏目前担任两家企业的法定代表人,和6家公司的股东(一家已注销)。其商业版图虽广,但风险亦不容忽视。除丽江雪山投资有限责任公司外,他还有多条股权冻结等周边风险信息,并于2023年10月被北京市朝阳区人民法院限制高消费。

李亚鹏,作为中央戏剧学院表演系毕业的男演员,曾主演《青春作证》《将爱情进行到底》《笑傲江湖》等影视作品。2014年,他宣布退出娱乐圈,转战商界。
本文综合公开消息,旨在提供财经视角的李亚鹏商业动态。
(文章来源:每日经济新闻)
郑重声明:以上内容与本站立场无关。本站发布此内容的目的在于传播更多信息,本站对其观点、判断保持中立,不保证该内容(包括但不限于文字、数据及图表)全部或者部分内容的准确性、真实性、完整性、有效性、及时性、原创性等。相关内容不对各位读者构成任何投资建议,据此操作,风险自担。股市有风险,投资需谨慎。如对该内容存在异议,或发现违法及不良信息,请发送邮件至yxiu_cn@foxmail.com,我们将安排核实处理。

