天府证券:宏信证券更名,国资控股开启新篇章
AI导读:
宏信证券正式更名为天府证券,由民营券商转变为地方国资券商。市场关注其如何利用全新股东资源和品牌推动业务发展、寻求突破。同时,天府证券近年来受到控股股东影响,业务发展受限,但2024年业绩有所增长。
【导读】天府证券:宏信证券完成更名,开启新篇章
宏信证券,这家券商历史上第二次更名,正式迈入“天府证券”时代。5月末,工商信息显示,宏信证券有限责任公司(简称宏信证券)变更为天府证券有限责任公司(简称天府证券)。随着公司控股股东四川信托完成重整,天府证券由民营券商转变为地方国资券商,市场密切关注其如何利用全新股东资源和品牌来推动业务发展、寻求突破。
天府证券:民营到国资的华丽转身
记者查询国家企业信用信息公示系统发现,宏信证券于2025年5月29日正式更名为天府证券。这是其历史上的第二次更名,上一次还是在2012年11月,由和兴证券经纪有限责任公司更名为宏信证券。如今,天府证券正式告别“宏信证券”名称,迎来新时代。
截至6月1日,公司官网仍使用“宏信证券”名称,预计后续将逐步更换线上线下标识及分支机构名称。
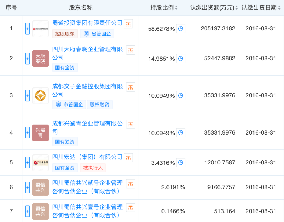
天眼查信息显示,天府证券拥有12家股东,其中四川信托持股60.38%,为控股股东;凉山州发展(控股)集团有限责任公司、南充市国有资产投资经营有限责任公司分别持股9.59%、6.71%。
今年3月,成都市中级人民法院裁定四川信托重整程序终结。此次重整中,四川国资入主,蜀道投资集团等四家公司新进股东名单,分别持股58.63%、14.99%、10.09%和10.09%。
控股股东变为国资后,天府证券由民营券商转变为地方国资券商,实际控制人为四川省政府国有资产监督管理委员会。
天府证券在2024年年报中称,蜀道集团作为重整投资人承接宏达集团100%股权,并成为四川信托控股股东,至此,天府证券全部股东及实际控制人均变为四川省省属或地方国有企业。
寻求突破:市场关注天府证券新变化
近年来,天府证券受到控股股东影响,业务发展受限,人员流失,业务及融资受限。作为西南地区资深券商,天府证券拥有证券营业部34家,员工744人。
今年1月,四川证监局对天府证券采取警示函措施,指出其投行内控体系和制度不健全等问题。财务方面,2024年天府证券实现营业收入4.69亿元,同比增长5.76%;净利润为1.23亿元,同比增长18.55%。
蜀道集团董事长张正红表示,要充分发挥区域优势和专业能力,创新业务品类,培育新的增长点,打造“天府金融”品牌。
业内人士指出,天府证券更名后,将迎来新的发展阶段,市场期待其利用股东资源积极拓展业务、寻求突破。
(文章来源:中国基金报)
郑重声明:以上内容与本站立场无关。本站发布此内容的目的在于传播更多信息,本站对其观点、判断保持中立,不保证该内容(包括但不限于文字、数据及图表)全部或者部分内容的准确性、真实性、完整性、有效性、及时性、原创性等。相关内容不对各位读者构成任何投资建议,据此操作,风险自担。股市有风险,投资需谨慎。如对该内容存在异议,或发现违法及不良信息,请发送邮件至yxiu_cn@foxmail.com,我们将安排核实处理。

